Les caméras : Cinématographe Lumière
Le Cinématographe Lumière est l’emblème, la figure symbolique des débuts du cinéma. Il n’est pas exagéré de dire que c’est l’appareil de référence. Mais surtout, il représente à la fois un aboutissement et un commencement ; il est une rupture dans l’histoire des appareils qui enregistrent et reproduisent (représentent) le mouvement. Volontairement, nous n’entrerons pas ici dans des problématiques historiques : c’est-à-dire quelle est la place de chaque inventeur dans l’histoire des images enregistrées et des images projetées. Nous nous plaçons ici du strict point de vue de l'analyse, donc des caméras.
Aboutissement, car il met un terme à toute une série de recherches, d’expérimentations sur la manière d’enregistrer, d’ “ausculter” les mouvements. Reprenons-les rapidement :
En 1873, le physiologiste Etienne-Jules Marey, en étudiant la locomotion animale, met en évidence que le cheval au galop retombe sur une seule patte après avoir quitté le sol avec les quatre : ce qui allait contre les théories habituelles. Un an plus tard, c'est un astronome, Pierre-Jules-César Janssen qui fixe sur une plaque photographique 48 vues successives du passage de la planète Vénus.
En 1878, Eadweard Muybridge tente de vérifier les travaux de Marey : un énorme dispositif photographique est installé pour analyser le galop du cheval. En 1881, Muybridge rencontre Marey. L’année suivante, Marey met au point son fusil photographique qui reprend les grandes lignes de celui de Janssen : 12 vues sont enregistrées par seconde sur un disque. Le même Marey présente le 29 octobre 1888 un chronophotographe à bande mobile : le verre est remplacé par une bande de papier sensibilisé et une vingtaine de vues étaient prises par seconde (blocage par électro-aimant). L’appareil est perfectionné le 30 octobre 1890 : le papier est remplacé par une pellicule de nitrocellulose. Mais, et c’est ici fondamental, la pellicule n’est pas perforée pour en assurer un blocage parfait. Marey, en scientifique, ne se souciait pas d’autre chose que “geler” le mouvement pour l’observer ensuite.
En 1891, Edison, qui avait rencontré Marey en 1889 et mis au point “une longue bande qui portent des trous de chaque côté […] comme dans le télégraphe”, fabriquent deux appareils : un Kinetograph qui reprenait le principe de Marey, mais avec un film perforé d’une part ; un Kinétoscope pour voir les vues d’autre part. Cet appareil de visionnage individuel est commercialisé en 1894. Simultanément, l’ancien assistant de Marey, Georges Demenÿ, met au point un système de déplacement intermittent de la pellicule via une came battante, mais le support n’ayant toujours pas de perforations, les images n’étaient pas enregistrées de manière régulière.
Fin 1894, Antoine Lumière, après avoir découvert le Kinétoscope, invitent ses deux fils, Louis et Auguste à travailler sur l’enregistrement et la reproduction d’images photographiques. C’est le 13 février 1895 que le premier brevet est déposé pour un “appareil servant à l'obtention et à la vision des épreuves chrono-photographiques”.
Commencement, car l’appareil (i.e. un instrument) permettait aussi la projection sur un grand écran devant un public d’une séquence d’images animées : le spectacle cinématographique tel qu’on l’entend encore aujourd’hui était né (même si E. Reynaud l’avait préfiguré dès 1888 avec son Théâtre optique). Cela marque la fin des jouets optiques, des recherches scientifiques sur les images animées. Il n’est pas exagéré de dire que le monde entre dans l’ère de l’image animée.
Cette première projection fut donnée le 22 mars 1895 à la Société d’Encouragement à l’Industrie Nationale, 44 rue de Rennes à Paris (il s’agissait alors d’un public de “savants”, la première projection dite commerciale a eu lieu le 28 décembre 1895).
Le mot cinématographe apparait dans un certificat d’addition du brevet le 30 mars 1895 et désigne l’appareil et non l’invention du spectacle cinématographique. C’est seulement ensuite que tout le dispositif (obtention des vues, projection des vues) a pris le nom de cinématographe, puis est devenu cinéma. C'est-à-dire phénomènes artistique, culturel, industriel et sociologique. Mais là, il faut peut-être aussi se tourner du côté de Bazin…
Selon Vincent Pinel (cf. sources : Chronologie commentée de l'invention du cinéma), sur le plan purement technique, il a manqué un élément déterminant aux trois principaux pionniers (à nuancer toutefois : par exemple, Marey a travaillé sur un projecteur vers 1893-1894) :
– la perforation à Marey,
– la photographie à Reynaud,
– et la projection à Edison.
L’appareil mis au point par les frères Lumière avec l’appui de Charles Moisson (chef mécanicien des usines Lumière) puis de l’ingénieur Carpentier (chargé de sa fabrication “industrielle”) a surmonté ces obstacles et a trouvé une solution mécanique de synthèse unique, là où plusieurs chercheurs avaient buté (mais certains ne voulaient pas aller au-delà de ce qu’ils recherchaient, car ce n’étaient pas leur but). L’avancement du “ruban” (sic) a pu se faire régulièrement, les images obtenues étaient espacées uniformément : conditions impératives pour la prise de vues et la projection.
Ce qui est remarquable, c’est que son mécanisme fut parfaitement adapté au but recherché et qu’il est resté quasi inchangé dans certains appareils pendant de nombreuses décennies.

Le mécanisme du Cinématographe Lumière: en plan (d'après Jean Vivié)

Le mécanisme du Cinématographe Lumière: en coupe (d'après Jean Vivié).

Le mécanisme du Cinématographe Lumière : détail du cadre oscillant et son excentrique triangulaire (d'après Jean Vivié).
De gauche à droite : intérieur de la face avant du Cinématographe Lumière : l'obturateur ; l'obturateur retiré (on aperçoit le mécanisme avec les griffes) ; détails du mouvement des griffes (photos : ©JFPB).

Cinématographe Lumière : le couloir côté pellicule (photo : ©JFPB).
Chronologie des brevets Lumière :
- 13 février 1895, brevet 245 032 : “Appareil servant à l’obtention et à la vision des épreuves chronophotographiques”
- 30 mars 1895, additif : porte sur le mouvement des griffes ; modification de la came ;
- 6 mai 1895, additif : porte sur la réception du film (boîte fermée) ;
- 28 mars 1896, additif : modification de l’arbre d’entraînement ;
- 18 novembre 1896, additif : perfectionnement du déroulement et de l’enroulement des “rubans pelliculaires”.
Principales caractéristiques (en configuration “prise de vues”) :
– 1894/1897 (fin de l’année, mise en vente des appareils/ 1905 : cession définitive des droits à Charles Pathé) ;
– format du film : 35 mm, perforations dites “Lumière” (rondes : une de chaque côté de l’image) et perforations dites “Edison”. Certains appareils ont été livrés avec les perforations “Edison” (quatre par images) pour répondre à une demande, mais aussi parce que ces perforations se sont vite imposées.
– dimensions (hors magasin et optiques) : 12,5 x19 × 19 cm (lxHxL) ; corps en noyer ;
– poids : environ 3,8 kg. ;
– deux griffes ;
– came triangulaire dite de Trézel (forme triangulaire avec bords arrondis) ;
– obturateur à 2 pales réglables ;
– entrainement par manivelle ;
– objectif de 20 mm à vis avec jeu de 3 diaphragmes (grand, moyen, petit); objectif Zeiss avec diaphragme à iris ;
– appareils fabriqués : 425 (hors prototypes) ; une série de 25, puis une série de 200 (certaines sources indiquent 100, puis 100), enfin une dernière série de 200.
Filmographie (liste non exhaustive) :
– Louis Lumière aurait lui-même tourné une cinquantaine de scènes dont une hypothétique “Sortie des usines” dès août 1894 ;
- Auguste Lumière aurait tourné “Mauvaises herbes” (n° catalogue 64);
- le catalogue “Société Lumière” répertorie à ce jour 1428 titres dont ceux tournés par Louis Lumière et les divers opérateurs ;
- il existe probablement d’autres “vues”, car l’appareil a été commercialisé : que sont-ils/elles devenus/devenues, où sont-ils/elles ?
On se reportera avec intérêt sur la correspondance entre les Frères Lumière et l’ingénieur Carpentier pour l’élaboration de cet appareil… réalisé finalement en très peu de mois. Cf. bibliographie sur la page sources et documentation.

Brochure explicative et descriptive du Cinématographe : Notice sur le Cinématographe, Auguste et Louis Lumière
Le Cinématographe Lumière repose sur 2 organes essentiels :
– un arbre excentrique
– un cadre porte-griffes.
L’arbre excentrique porte une roue dentée entraînée par une manivelle : lorsque la roue fait un tour, le pignon en fait huit. Ainsi, à raison de deux tours de manivelle à la seconde, l’arbre tourne seize fois.
À l’arrière est fixé un excentrique triangulaire qui transforme le mouvement circulaire de l’arbre en un mouvement alternatif. Est également fixé, à l’opposé, deux lames d’acier parallèles : ces lames sont légèrement déformées de manière à fournir une rampe d’enfoncement et une de retrait des griffes d’entraînement.
La seconde extrémité de l’arbre est terminée par un plateau qui reçoit le disque obturateur constitué de deux parties mobiles.
Le cadre porte-griffes est formé d’une lame d’acier percée d’une fenêtre dans laquelle se meut l’excentrique triangulaire. Il porte à ses extrémités supérieure et inférieure deux guides rectilignes qui peuvent glisser librement dans deux glissières. Le cadre, sous l'action de l’excentrique, subit un mouvement vertical alternatif.
Sur le côté et horizontalement, il est muni d’un prolongement portant les griffes.
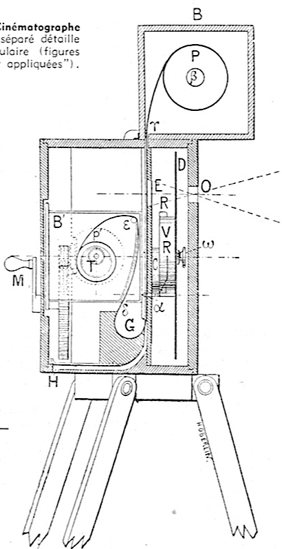
Nous reproduisons ici le descriptif décrit par Jean Vivié dans son ouvrage Histoire et développement de la technique cinématographique (cf. sources) :
“L’appareil comporte un mécanisme monté sur platine à l’intérieur d’un boîtier que surmonte le boîtier-châssis B : la bande pelliculaire P enroulée sur bobine, sort par une ouverture ϒ, descend verticalement, puis passe en E devant une ouverture pratiquée en face de l’objectif placé en O ; de là, elle va à la gorge G pour remonter à une petite tige ε d’où elle va s’enrouler sur la bobine P’ qui tourne sur l’axe T. Une manivelle qu’on tourne à la main communique au moyen d’un système d’engrenage, le mouvement à cet axe et met en même temps en marche l’arbre ω d’un excentrique C qui imprime au cadre L un mouvement de va-et-vient de haut en bas. On voit que, par la forme de cet excentrique, le cadre a une vitesse croissant régulièrement puis s’éteignant de même avec un arrêt complet pendant un moment à chaque extrémité de la course. Cet arrêt est nécessaire pour permettre à deux petits crochets α et α’ que porte le cadre d’entrer ou de sortir des trous pratiqués le long de la bande. Ils sont montés sur des ressorts A et C ; deux plans inclinés R, sur lesquels ils glissent, les font éloigner de la pellicule lorsque le cadre L est arrivé en bas de sa course, ou les laissent s’en approcher pour pénétrer dans les trous quand il est en haut. Il en résulte que la bande est entraînée toujours dans le même sens d’une quantité égale à la course du cadre et qu’elle subit un moment d’arrêt complet pendant que celui-ci accomplit la course inverse. La dimension des images, dans le sens de la hauteur, correspond exactement à la course du cadre.
“Au moment où la pellicule est arrêtée, un disque obturateur D, mû aussi par la même manivelle, présente à l’objectif son échancrure et laisse passer les rayons lumineux ; ceux-ci arrivent d’un côté ou de l’autre suivant qu’il s’agit de photographier ou de projeter. L’ouverture de l’échancrure est réglable à volonté de façon à diminuer ou augmenter le temps de pose suivant les besoins. Afin que l’enroulement puisse se faire d’une manière continue sur la bobine réceptrice P’, la bande pelliculaire passe, en ε, sur une tige montée sur un léger ressort, qui lui donne une élasticité suffisante pour compenser le moment d’arrêt de l’excentrique.
“Du reste, cette disposition, qui est absolument indispensable pour la prise des images, puisque la bande doit alors être complètement à l’abri de la lumière, devient inutile quand il s’agit de projection, et, dans la pratique, on peut supprimer, dans ce cas, l’action du tambour P’ et laisser la pellicule tomber librement dans le vide.”






